(原标题:微软新专利:“恶意屏蔽”功能来减缓网络欺凌问题)
多年来多公司努力尝试解决网络欺凌问题,甚至尝试利用机器学习等AI技术来识别在线欺凌事件。不过在可以自由表达自己情绪的互联网世界里,“恶意”的虚拟环境反而成为此类事件猖獗的温床。然而每个人对“恶意”网络环境的定义都存在差别,对于可能冒犯他人的话语有不同的观点和解释。

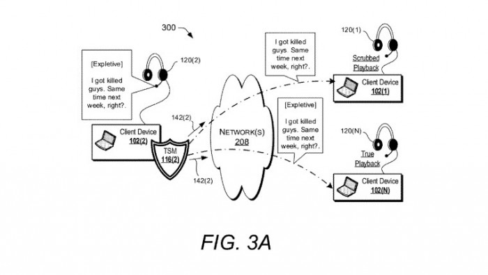
微软似乎带来了一个非常有趣的解决方案,在最新专利中设想了一个个性化的“恶意屏蔽”功能,可以根据用户的喜好监控通信和审查数据。这些通信可以包括基于语音或基于文本的聊天,例如多人游戏会话中的聊天,甚至可以扩展至视频直播中的图形展示。此外该系统还可以部署到在线Web会议或者VR/AR会话中。

“恶意屏蔽”会过滤的内容不仅包括咒骂,还可能包括各种不良行为,例如有人在麦克风前大口喘息,或者在虚拟环境中离你靠的太近。“恶意屏蔽”可以分析“公差数据”以部署特定于用户的毒性屏蔽模块(TSM),这些TSM还可以基于通过机器学习引擎生成的预测模型,该机器学习引擎分析对毒性行为的反应。可以选择默认配置文件以向引擎提供其所需的所有信息,而用户也可以为相同目的手动设置。